MAQUINARIA LITAI
Jul 22 2022
LITAI MACHINERY
¿Qué es una termoformadora automática de vasos de plástico ? Esta es una pregunta que cualquiera que se inicia en esta industria se hace. En resumen, se trata de una máquina para fabricar vasos de plástico. Sin embargo, existen otras preguntas que podrían surgir. En este artículo, Litai, proveedor de termoformadoras automáticas de vasos de plástico , se centrará en las termoformadoras automáticas de vasos de plástico para que pueda comprenderlas con claridad. Además, al final del artículo se presentará la termoformadora automática de vasos de plástico de Litai. Puede hacer clic aquí para ir a la página del producto correspondiente y familiarizarse con ella. Si desea obtener más información sobre los envíos y el servicio posventa, contáctenos directamente.
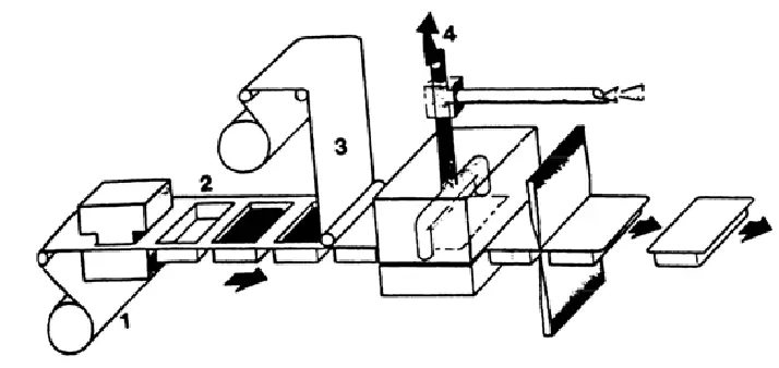
La termoformadora automática de vasos de plástico (también conocida como vulcanizadora plana, vulcanizadora de caucho, prensa de tabletas pequeña o prensa de tabletas automática) es una máquina de moldeo adecuada para polímeros en las industrias del caucho y el plástico, como PVC, masterbatch y otras materias primas químicas. Sirve como base para la dosificación antes de la producción en masa en fábrica. La materia prima de plástico o caucho se coloca en el molde, intercalada entre las placas calefactoras eléctricas superior e inferior, y se aplica presión bajo la temperatura constante inteligente de la placa calefactora para moldearla.

Los materiales más comunes para vasos de agua de plástico son el vidrio espacial y el plástico AS. El vidrio espacial, también conocido como plástico de ingeniería PC, es un material ampliamente utilizado en todo el mundo, y su componente principal es el policarbonato. Ligero y duradero, este material ofrece excelente aislamiento, elongación, estabilidad dimensional, resistencia química y alta resistencia al calor y al frío. Además, ofrece las ventajas de ser autoextinguible, ignífugo, no tóxico y coloreable. La desventaja es su dureza insuficiente en comparación con el metal, lo que lo hace más propenso a rayarse.
El plástico AS es un copolímero de acrilonitrilo (A) y estireno (S). Presenta una resistencia moderada a la intemperie y no se ve afectado por ambientes con alta humedad. Es resistente a la grasa general, los detergentes y el alcohol suave. Presenta baja resistencia a la fatiga y no se agrieta fácilmente debido a la tensión interna, además de ser un material muy transparente. Se utiliza frecuentemente para fabricar productos plásticos como bandejas, vasos, vajillas, cepillos de dientes, espejos para instrumentos y cajas de embalaje.
El moldeo por inyección de la termoformadora automática de vasos de plástico aprovecha las propiedades termofísicas del plástico para introducir el material desde la tolva en el cilindro, que se calienta mediante un anillo calefactor externo para fundirlo. El material se plastifica, funde y homogeneiza gradualmente mediante la doble acción del cizallamiento del tornillo. Al girar el tornillo, el material fundido se empuja hacia la cabeza del tornillo bajo la acción de la fricción y el cizallamiento de la ranura descendente.
Al mismo tiempo, el tornillo retrocede debido a la reacción del material, de modo que la cabeza del tornillo forma un espacio de almacenamiento y completa el proceso de plastificación. A continuación, bajo la acción del pistón del cilindro de inyección, el tornillo inyecta el material fundido en la cámara de almacenamiento a través de la boquilla a alta velocidad y presión. En la cavidad del molde, una vez que el material fundido se ha mantenido a presión, enfriado, solidificado y moldeado, el molde se abre gracias al mecanismo de sujeción y el producto moldeado se expulsa a través del dispositivo de expulsión.

Este es el final de este artículo, más preguntas y respuestas correspondientes se enumerarán en el próximo artículo.
La termoformadora totalmente automática serie TTF es nuestro producto estrella más reciente. Esta termoformadora automática de vasos de plástico combina las funciones de formado, punzonado, corte y apilado. Es ampliamente utilizada y se adapta a la mayoría de las necesidades de los clientes; puede producir bandejas, contenedores, cajas, tapas, etc. de plástico. La máquina está accionada completamente por un servomotor. Ofrece un funcionamiento estable, bajo nivel de ruido, alta eficiencia y alta calidad.

La interfaz manual industrial y el PLC de SIEMENS (Alemania) garantizan un alto grado de automatización, un control preciso y una operación cómoda. La función de almacenamiento de documentos simplifica los procesos operativos.
Las estaciones de trabajo se accionan mediante una estructura estable de cuatro pilares guía (acero GCr15, con exterior cromado duro). Resistente al desgaste y con una larga vida útil del equipo.
El servomotor de estiramiento de YASKAWA (Japón) controla la velocidad de los troqueles superior e inferior, lo que permite mantener una resistencia uniforme y asegurar que el espesor del fondo de cada copa sea uniforme.
El sistema accionado hidráulicamente puede proporcionar una velocidad de movimiento adecuada y una fuerte potencia de perforación.
Toda la pieza se acciona mediante un sistema hidráulico, fiable y estable. El uso de un interruptor de proximidad de ROCKWELL (EE. UU.) garantiza una excelente precisión en el posicionamiento del molde.
El calentador agregó algodón aislante al vacío, lo que muestra una tasa de respuesta rápida, un tiempo de procesamiento corto y ahorro de energía.
La cadena afilada utiliza 65#Mn, que tiene mayor resistencia, mejor resistencia al calor y elasticidad que el acero 45#.
La bomba de aceite lubricante eléctrica puede inyectar automáticamente aceite lubricante de manera regular y cuantitativa a través del control de la computadora bajo la condición de control no tripulado, lo que puede hacer que la rotación
El servomotor de alimentación de hojas adopta la marca YASKAWA, fabricado en Japón, la potencia nominal es de 3 Kw, lo que garantiza un funcionamiento estable en el proceso de alimentación.
LITAI MACHINERY CO., LTD. se fundó en 2001. Durante más de 20 años, nuestra misión empresarial ha sido la producción de máquinas automáticas para envases de plástico. Nos centramos en la investigación, el desarrollo, la fabricación y la comercialización de máquinas termoformadoras de cuatro o tres estaciones, máquinas termoformadoras de vasos de plástico, máquinas termoformadoras de plástico BOPS, extrusoras multicapa de láminas PP/PS/PET, moldes, etc. Somos el primer fabricante nacional en producir vasos de plástico en una sola línea, con termoformado, punzonado, corte, apilado, transporte, conteo y envasado automáticos.

MECANISMO DE FUNCIONAMIENTO DE LA MÁQUINA TERMOFORMADORA DE PLÁSTICO
TIPOS DE EQUIPOS DE PROCESAMIENTO DE MÁQUINAS DE MOLDEO DE PLÁSTICO